曹先生經(jīng)理
L螺絲端桿錨具系列適用于先張、后張法預應力混凝土結(jié)構(gòu)件中的冷拉‖-Ⅲ級粗鋼筋。
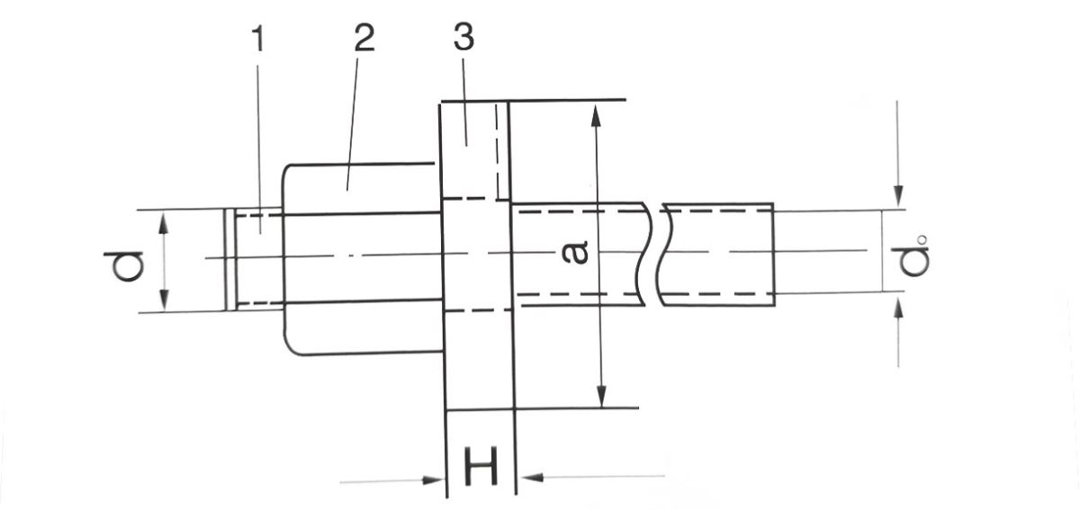
▼構(gòu)造圖
1、螺絲端桿 2、螺帽 3、墊板

廣漢公司:0838-5103888
成都公司:028-83630396
廣漢公司:452018313@qq.com
成都公司:452018313@qq.com
